기술분야: 토목공학
보유기관: 
연구자: 김규한
기술완성도 TRL5
| 기술분야: 토목공학 | 보유기관: ![]() |
| 연구자: 김규한 | |
|
기술완성도
TRL1
TRL2
TRL3
TRL4
TRL5
TRL6
TRL7
TRL8
TRL9
|
|
기술 상담 후 협의
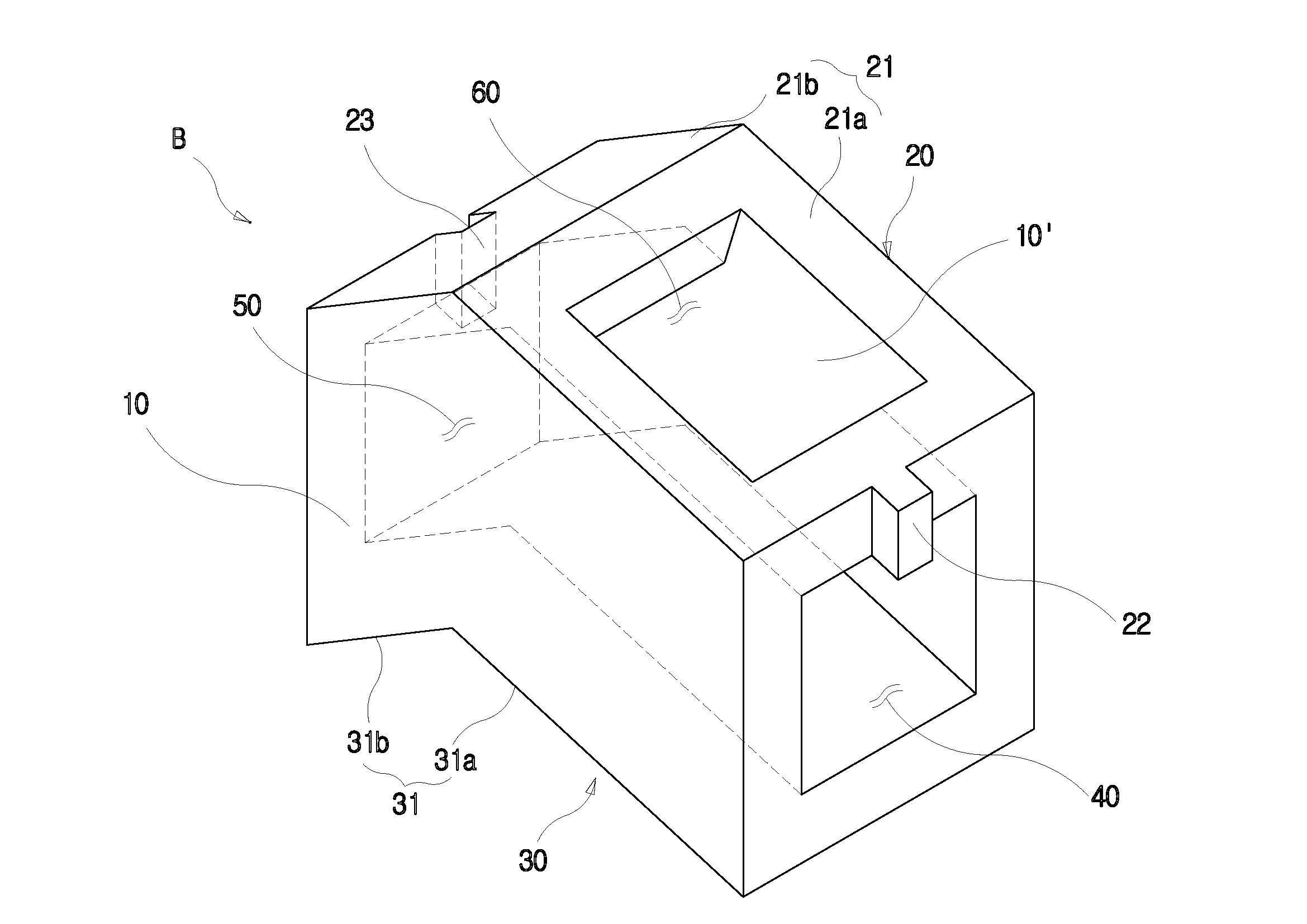
이안류 차단을 위한 해안 구조물 블록.
해안에 발생하는 이안류를 차단하기 위해 해안 구조물 사이에 배치되어 이안류과 더불어 해안침식도 방지함.
블록은 한쌍의 벽부가 해저면과 수직되게 구비되어지고 상부와 하부에는 각각 덮개부와 바닥부가 구비되어 전체적인 중공형의 형상을 가짐.
양 단부에는 유입구와 배출구가 일체로 형성해 유수의 흐름이 유도 됨.
일반적으로 이안제, 잠제, 돌제 및 방파제 등의 해안 구조물은 항내측의 정온도를 확보하거나, 해일이나 파도로부터 해안 시설물을 보호하기 위한 목적으로 설치됨.
하지만 통상적으로 해안 구조물은 정온도의 확보에 집중되어 해안 유수의 흐름을 차단하거나 항내측의 오염을 유발하는 문제점이 있음.
또 파랑에너지가 상기 해안 구조물에 부딪히면 강한 이안류가 형성되어 해저면에 이차적인 세굴 현상이 일어나며 일반적인 해안 구조물은 상기 이안류를 효과적으로 제어하지 못하는 문제점이 있음.
이안류 차단 블록은 하단과 상단이 휘어져 있는 중공형 형상을 가지면서 해저면과 수직되어 설치됨. 양 방향으로 유입구과 배출구가 형성되어 유수의 흐름이 유도되며 바닥은 일정 각도로 절곡되어진 모양을 통해 이안류가 차단됨.


항구 조성에 들어가는 방파제 등의 해안구조물으로 인해 발생되는 이안류을 방지하고자 해저면에 조성하는 해안 구조물임
세계적인 항구인 네델란드 로테르담, 중국 상하이 등 단순 기계에서 디지털 시스템으로 전환하는 스마트 항만 조성을 추진하고 있음. 이로 인해 11조원 규모의 항만조성 시장이 더욱 성장할 것으로 예상됨.
국내 스마트 항만기술 산업 규모는 5000억원 수준정도 밖에 되지 않아 2031년까지 국내 시장 90%, 세계 시장10%를 목표로 관련 산업 기술을 육성하고자 함.
그로 인해 국가 기술개발(R&D) 및 기술인력 양성 등의 계획이 발표되었으며 2026년까지 1조 2285억원, 2031년 3조 9000억원의 시장으로 확장시킬 계획을 발표함.
이안류 차단 블록
특허출원 | 10-2015-0025741
출원일자: 2013년08월30일
출원인: 가톨릭관동대학교산학협력단
발명자: 김규한